КЭПС-ВЭ К-XXVI
9,95 ₽
Описание
Выкатные элемент КЭПС-ВЭ К-XXVI с вакуумными выключателями предназначены для коммутации электрических цепей в нормальных и аварийных режимах в шкафах комплектных распределительных устройств внутренней и наружной установки номинальным напряжением до 10 кВ трехфазного переменного тока частотой 50 Гц для систем с изолированной нейтралью.
Устанавливаются в новых и реконструируемых (ретрофит) комплектных распределительных устройствах электрических станций, подстанций и других устройств, осуществляющих распределение передачу и потребление электрической энергии.
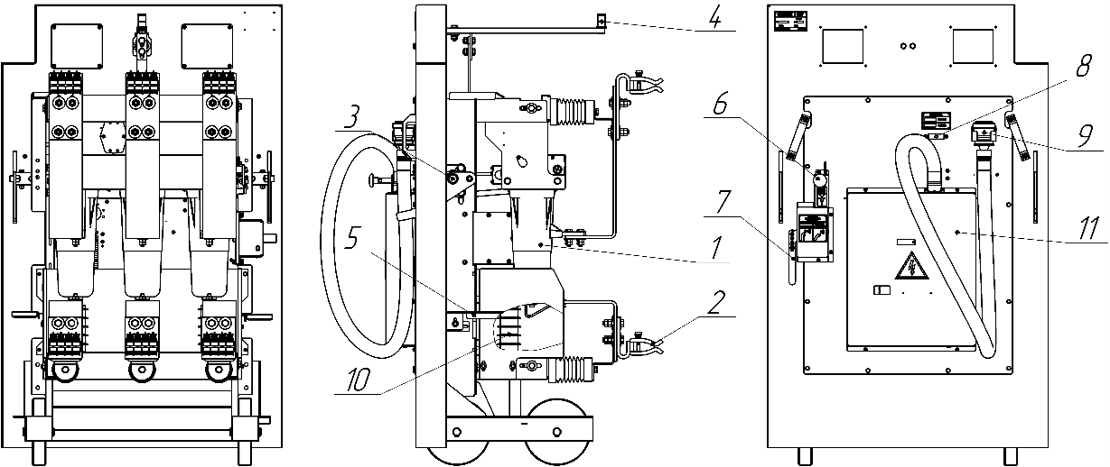
Выкатной элемент представляет собой сборную металлическую конструкцию, отдельные детали и узлы, которые крепятся между собой болтовыми соединениями, на которую установлен вакуумный выключатель с элементами главных цепей, в том числе втычные контакты.

Состав выкатного элемента серии КЭПС-ВЭ К-XXVI
1 – вакуумный выключатель; 2 – втычной контакт; 3 – вал перемещения ВЭ из контрольного в рабочее; 4 – элемент для взаимодействия со шторочным механизмом шкафа КРУ; 5 – контакты заземления выкатного элемента; 6 –МБО; 7 – ручка блокировки перемещения выкатного элемента; 8 –механический указатель состояния; 9 –кабель подключения выкатного элемента; 10 – ОПН; 11 – отсек блока управления
| Наименование параметра | Значение |
|---|---|
| Номинальное напряжение, кВ | 6; 10 |
| Наибольшее рабочее напряжение, кВ | 7,2; 12 |
| Номинальный ток, А | 1000 |
| Номинальный ток отключения, кА | 20/25/31,5 |
| Ток термической стойкости, кА | 20/25/31,5 |
| Электрическое сопротивление главной цепи ВЭ, без учета подвижных электрических контактов, мкОм, не более | 150 |
| Номинальное напряжение устройства управления, В | =220; 110 ~220; 110 |
| Масса, кг, не более | 270 |
| П р и м е ч а н и е – более подробная информация по техническим характеристикам вакуумного выключателя и блока управления содержится в соответствующих руководствах по эксплуатации, поставляемых с выкатным элементом производства ООО «КЭПС». | |
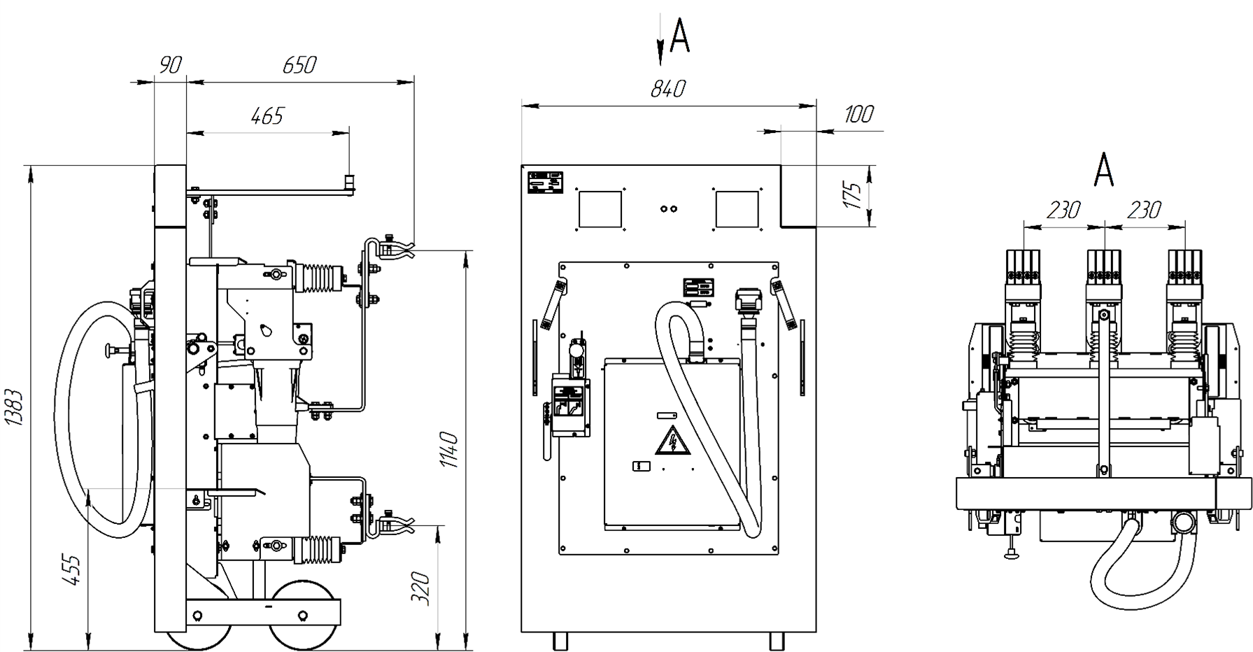
Габаритный чертеж выкатного элемента КЭПС-ВЭ K-XXVI 1000А с блоком управления на выкатном элементе
Габаритный чертеж выкатного элемента КЭПС-ВЭ K-XXVI 1000А без блока управления






